Perpetuum Mobile - Concepts IV

Parallel Running-Ideas

Have you ever realized that some perpetual motion ideas are frequently re-used and being brought up only in varying methods? One of the reasons for that might lay in the discovery of new energy sources which were not understood so precisely than we do today. Every new energy source also led inventors to old ideas being refurbished to new machines in the hope to achieve the final goal of a Perpetuum Mobile. Let's have a look at the "buoyancy principle machine".

     This is the classical buoyancy PM. The expected bouyancy forces that act on the submerged part of the wheel shall keep it in rotation. The openings of the tank need to be sealed in order to prevent water from pouring out.
     The same idea inspired this device powered by magnets. Here the iron chain shall be set in motion by magnetic power and gravity.
     Otto von Guerickes experiments with friction electricity led to the invention of this apparatus. A ball made of isolating material rotates inside an electric shield. The motion shall be driven by electrostatic charges.
     And finally, material that does not exist (and very likely never will) can be used as energy source. Herbert George Wells invented in his novel "The first Men on the Moon" the Cavorite which allows shielding of gravitational force. Bob Schadewald took this concept and suggested a PM based on Cavorite (beware, it was an academic tongue-in-the-cheek idea!). Discussions why it won't work can be found on Kevin Kilty's site and in the Museum of Unworkable Devices.

Have you noticed the same concept, on which all these devices are based? The intended energy sources and the used materials vary, but in all of these machines, the forces that asymmetrically apply to the rotor are expected to act in a way they actually don't.

The Wheel - Re-Invented Today!

If you study patent applications(!), you will find out easily that technical progress takes place in many areas. Except one: pereptual motion machines. These machines often seem to be singular inventions, without reference and knowledge of previous inventions and the technical state of the art. There is no month, in which an inventor does not dare to present his mental child to the public. And this child is akin to all to those other childs being born in the past. They have two things in common: they do not work and their father is convinced of being the only inventor of a real perpetual motion machine.

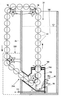
From my archive, I show here a little selection out of more than hundred concepts of buyoancy machines which make use of an endless chain carrying floats. Lessons learned? Hm...

Jové, 1867
Great Britain Pat. No. 42/1867

Guillaume, 1928
Belgium Pat. No. 359840

Levévre 1932
Belgium Pat. No. 387150

     

Blain, 1979
Kameroon Pat. No. OA6413

Ritscher 1985
Germany Pat. No. 8510493U

Smeretchanski, 2003
France Pat. No. 1828716

It would be possible to give similar collections of apparatus which use other principles. Arabian wheels, permanent magnet motors or recirculation mills are as abundant. The more primitive a concept, the more numerous the efforts to get a machine of a particular type patented.

Hypothetic Technology

Phantasy can break all barriers of science and technology known today. Not only serious inventors, but also science fiction writers and their predecessors like Verne and Wells had and have visionary ideas about the future and technical progress. Let's imagine that not only the abovementioned material Cavorite could be possible, but also H.G. Wells time machine as well! A time machine allows us to build a perpetuum mobile, presupposed our project is the creation of energy out of nothing. This is the way it can be done:

A time machine with loading capacity is loaded with coal, assume 1 ton. Loading and unloading might take 10 minutes. We transport that coal 100 minutes into the past. We unload the machine and return to the present. It's no surprise to find our pile of coal again. Now this is a loss of energy, as we need fuel for our time machine. But if we return 10 minutes into the past, we can simply pick up the coal and transport it into the present. If we do this in a 10-minute raster, we end up with 10 tons of coal. Conclusion: Our time machine is a PM device. How this can be achieved without breaking the laws of thermodynics is discussed in my time travel section of this homepage (available in German language only).

...next chapter


Last update: 22 December 2003 /
 HPs Home      Perpetuum/Home