Buoyancy

I'm getting tired of checking buoyancy machines which are supposed to be PMMs. The most recent example was published by a french inventor who sent me the URL of his two patented machines, one dating from April 2003. Buoyancy machines are by far the most abundant species of perpetual motion machines. Unfortunately abundance is no guarantee for workability.

The idea of using buoyancy forces to keep a PMM moving is old and concepts are abundant. There are two main classes of buoyancy PMMs which can be briefly described as:

Pressure, Gravitation and Buoyancy

It is a strange thing around buoyancy. Only few people are able to describe how this effect is caused. Buoancy seems to be appealing because of the hidden secret of its modus operandi. But there are no secrets except the fact, that obviously most inventors of buoyancy machines missed their physics lesson or had bad teachers - both possibilities are not a good starting point to do engineering. Here you find in a nutshell all you need to know about buoyancy.
   Let's start with pressure. Pressure is defined as force per surface area. Usually, textbooks point out that pressure acts uniformly in liquids. If pressure is applied, it spreads all over the liquid and the force of pressure acting onto the walls of the container is everywhere the same. This often is illustrated by the principle of the hydraulic press.
What textbooks don't explicitly write in this context: the applied pressure distributes uniformly, but the second component, which causes pressure, namely gravitation, adds a second pressure component. This causes higher pressure at the bottom of a device and lower pressure at the top.

How is buoyancy caused? If an object is partly or totally immersed in a liquid, the pressure applies on that object. Pressure applies from all directions and always results in a force acting normal to every surface. We can see that only the vertical components of the pressure forces sum up to a resulting force which are able to cause an object floating. But first, let's have a closer look at pressure acting on an object! 

*** to be expanded ***

If you have read until this point, you should wonder, why up to now, the mass of the immersed object was not taken into account. Up to now, I've only described dependencies from the volume of the object. This is a very important result: The buoancy force is independent from mass or shape, but only from the liquid's density and the object's volume..

*** to be expanded ***

We are familiar with the fact that boats usually float in water, stones sink and submarines can decide. These different sorts of behavior depend from the density of the object, not from its absolute mass.

Some conclusions of this section are:

 The Floating Rope

A classical PMM suggestion is given by a light, well-greased floating rope which is partly immersed in a U-tube. The rope is expected to be in perpetual motion due to the buoyancy force inside the asymmetric part and the gravitational force outside. A lot of discussions have been made about this machine.
   Ord-Hume gives this explanation (p.108), why the design of that mechanism is flawed:
"The system breaks down once more on the grounds that the mechanism demands the relationship of air and water in an unrealistic and impractical situtation. Aside from the friction in the bearing of the pulleywheel, the well-greased rope has to be drawn through a watertight constriction which has to exert some appreciable pressure on the rope in order to retain the liquid in the tube. If one tries to add more 'power' to the lifting side of the system by lenghtening the longer side of the J-tube, the weight of water is also increased, the tendency to leak between rope and constriction is increased and so the constriction must hug the rope yet tighter, increasing the friction still further. As if all this was not enough, the friction incurred in bending and unbending the greased rope in the water would also be appreciable. The efficiency of this suggested machine would be considerably less than the value 1.0 - and remember that perpetual motion would only ensue if the efficiency were to exceed 1.0."

Sounds plausible, but misses the point. Ord-Hume argues by friction. But even if there were no friction, the whole device would not work in the intended way.
The inventor of this floating rope mechanism rises expectations by a drawing which does not come very close to reality. Have you ever observed a floating rope? If so, could the drawing be correct? If the rope were floating, why doesn't it float at the U-shaped bottom of the tube?

     
How a stiff rope
would float
   A flexible rope would
float like this...
   ...except it is
sharply bent.

   Still,the reason why this device won't work, is unclear. Here is a very simple explanation:
  1. The U-shaped portion of the tube will generate a symmetric buoyancy force on both ends of the rope which compensate. Consequently, Mr. William Chaper omitted this unproductive detail and constructed his machine with the vertical portion immersed only. In 1870, he published the design.
  2. The asymmetric vertical portion of the tube does not generate a buoyancy force at all, as the pressure acts symmetrically and vertically to the surface of the rope. The pressure cannot act on the top or bottom portion, as they are not present and thus cannot be exposed to the pressure difference between the surface of the liquid and the lower part of the tube.

 The Floating Chain Machine

   Inventors, who learned that the floating rope machine will not work, came to the idea that a chain with attached light bodies can overcome this difficulty. This particular example has been invented by Mr. Frank Tatay, who got the US patent no. 1,708,807 for it. The design cleverly avoids the flaws of the previous construction. Clearly, the floats will deliver buoyancy force. It only depends from the height of the machine and the number of immersed floats to overcome the friction at the bottom sealing of the tank and the water pressure which tends to press the lowest, partly immersed float downwards.

This sounds too good to be true. The secret lies - in the spaces between the floats!

   A closer look reveals that the force f1 acting on the bottom of the upper float is less than the force f2 acting on the lower float. The resulting force for this part of the chain points downwards, which for sure was not the inventor's intention. We can repeat this consideration for all pairs of floats. As the distances between the floats sum up to more than the height of a single float, the summed forces exceed the buoyancy force generated by the topmost float. Thus the machine won't work.

For the benefit of the inventor, we reduce the space between the floats and assume that the difference f2-f1 is very close to zero. All these forces sum up to a force little more than zero, pointing down. Let's neglect this force. Will the machine work under these conditions?
Up to now, we have not considered the lowest and the topmost immersed float.
The lowest float is not supported by buoyancy from the bottom. Thus this float is pushed downwards by pressure and gravity. We assumed that the sum of forces between the gaps of the floats should be neglected. But we cannot neglect the difference of forces between the top of the bottom float and the bottom of the topmost float. Again the principle of the machine fails.
Really?

Have you read the "Methods" chapter? Remember the first hint: Don't be gullible, be sceptic! Do you believe all what you read, if it is explained good enough? If my explanation about the gaps were correct, why does the machine not operate in the opposite direction?

 An Advanced Buoyancy Problem

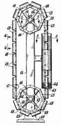
We have seen how perpetual motion concepts of the simple float-on-chain type can be analyzed. Sometimes, a buoyancy PMM is invented, where we can assume that the inventor has made similar considerations. Here, I'd like to discuss a machine principle, that was suggested by Ralph W. Gilmore in 1974. He got the US patent no. 3,857,242 for it. The principle is based on an endless chain with floats, but the decisive detail is the fact that the float can be detached from the chain.

***image***

We have learned how this machine shall work. I'd like to point out that the inventor has cleverly avoided to move the float vertically at the botton into the tank. Instead, he pushes it horizontally through a valve mechanism. So only the pressure force acting on the front has to be overcome. We assume

Will this machine work? And if not, can you give exactly the reason why?

 The Sophisticated Buoyancy Machine

I'd like to point out that I'm not willing to use formulae here, except a few additions and subtractions. The flaw of a principle must be made obvious without mathematics.
We focus on the second class of buoyancy machines, as they are more difficult to understand. For the convenience of the reader and the benefit of the inventor, we ignore frictional losses. A first drawing illustrates the machines' principle:

    Attached to a chain, several bodies with changeable volume are expexted to move in, say counterclockwise direction. The volumes are:
  • V1 body sinks down
  • V2 body raises

The whole mechanism is completely immersed in a suitable liquid, e.g. water. The mass of the bodies and the volumes V1 and V2 are chosen in a way, that the abovementioned property holds. It is easy to understand that the idea can work with any desired number of bodies, so it is sufficient to analyze the way of one. A sort of circular process is expected to happen:

  1. body has volume V1, therefore sinks down
  2. body's volume is increased by an inner mechanism. New and larger volume is V2
  3. body raises
  4. body's volume is decreased by an inner mechanism to volume V1

We assume that the mechanism inside the body works without losses of energy (e.g. by friction) so that the two changes of volume add up to an energy of zero. The conclusion is, as both steps 1 and 3 are caused by buoyancy effects, the process should generate an excess of mechanical energy that can be drawn for useful work.

This idea is very appealing and more than one patent has been issued for machines of this kind.

Some readers might stop here and start building a perpetual motion machine on this principle. I kindly ask them to read until the end of this page, as they have a good opportunity to avoid frustration. In order to keep the analysis as simple as possible, we look at several aspects of this mechanism separately. By this, it should be easy to identify the "magic" portion of the device or the process resp., which causes the generation of energy.

Circular Path of the Mass

First, we should have a critical look at the circular path of the mass. All patents and suggestions of this class of machines which I know up to now, assume that the path of the masses is closed and the shape, size or other mechanical conditions of the mass are the same in the same location on its path. As the liquid shall not be considered at the moment, we can easily see that the movement of the mass fulfils the first law of thermodynamics, which in this case can be interpreted as:

By this, the mass and its closed path cannot be the reason of the expected overunity behaviour of this PMM. As all these concepts claim that this behaviour is caused by the buoyancy effect, we will look at it now.

The Up and Down Movements

First, we analyze the steps 1 and 3 of the circular path. We should remember how buoyancy works: The forces acting on an immersed mass are generated by the differences of pressure on top and bottom of this mass. If a mass sinks or raises, the equivalent volume of liquid has to be forced to the place in which originally the mass was located.

Step 1: The mass sinks. By this, the equivalent volume V1 of liquid moves upwards. Step3: The mass raises. So the equivalent volume V2 of liquid moves down.

We can conclude, that by this the volume difference V2-V1 moved down, whereas the mass itself returned to the original height it had at the beginning of step 1. Obviously, by raising of the body, a certain mass of liquid moved down without investing energy. We have found the source of perpetual motion!
Did we?

The Volume Changes

Our analysis has ignored the steps 2 and 4, a point which is frequently overlooked by inventors of these machines. Let's start the analysis in the same way as we did with steps 1 and 3 before:

Step 2: The liquid equivalent of volumes V2-V1 moves up Step 4: The liquid eqivalent of volumes V2-V1 moves down.

Our quick-minded inventor argues, that  moving the constant volume up and down will compensate, thus still leaving the result from or previous analysis untouched. But slow down! We must be more careful!

We have ignored the work, that is needed to move the liquid. Let's regard the liquid moving down in step 3 consists of the portions V2-V1 and V1. It is easy to see, that the V1 part exactly compensates the movement of the V1 part in step 1. Let's focus on the V2-V1 portion. We see:

Now we have pushed the liquid mass equivalent to V2-V1 up by h+g, then moved it down by h and g. The resulting energy sum is zero. What is the conclusion of this lenghty discussion? We have proved that the easily ignored steps 2 and 4 i.e. changing of the volumes are the key to understanding the flaw in this machine. Sorry. No perpetual motion machine!

The Simplest Explanation

Remember the first law of thermodynamics? Remember the sentence a few lines above:

Which masses are involved in this circular process?

  1. The mass of the immersed body. We've already found out that this particular mass on its circular path has an energy bilance of zero.
  2. The mass of the displaced liquid. When the immersed body retuns to the same position at the same volume (whichever) on its closed path, the same volume eqivalent (=mass equivalent) has also moved on a circular path to its original position. We see, that the energy bilance is zero as well.

We can add zero energy as long and often as we want, the result will never become positive. Even if the discussed machine is initially set into motion, it soon will stop, as there are losses by liquid friction, which we have neglected up to now.

If you are interesed in a more detailled discussion of unworkable buoyancy machines, have a look at Donald Simanek's site on buoyancy misconceptions. If you see any parallelities in ideas, do not worry! For sure this is no sign for the great conspiration but rather for scientific collaboration and understanding of basic concepts in physics.


Last update: 21 May 2004 /
 HP's Home      Physics/Home